评后公示
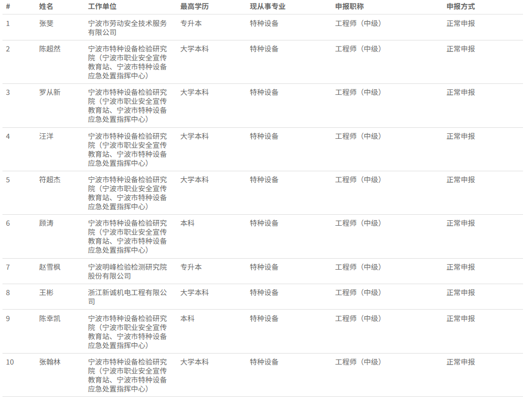
经宁波市质量技术基础专业技术人员中级专业技术职务任职资格评审委员会2025年10月21日评审通过,张斐等28人具有工程师职务任职资格,现予以公示,接受社会监督。现将有关事项通告如下:
1.反映问题的方式:在公示期限内,任何单位和个人均可通过来信、来电、来访的形式,向我局组织人事处反映公示对象存在的问题。以单位名义反映问题的应加盖公章,以个人名义反映问题的提倡署报本人真实姓名;
2.反映问题要坚持实事求是的原则,反对借机诽谤诬告;
3.公示时间:2025年10月22日至10月28日,共5个工作日;
4.公示联系受理电话:宁波市市场监管局组织人事处,地址:宁波市鄞州区和济街69号,邮编:315040,联系电话:0574-89189837。
评后公示名单



扫描下方二维码咨询我们或关注公众号「浙江微思职称」,了解更多职称资讯~
