评后公示
经温州市企业人员建筑材料专业工程师职务任职资格评审委员会于2025年10月23日审查投票通过,杨宗波等38人具有建筑材料专业中级技术职务任职资格;蒋旭阳等2人具有建筑材料专业初级技术职务任职资格,现予以公示,接受社会监督。现将有关事项通告如下:
1.反映问题的方式:在公示期限内,任何单位和个人均可通过来信、来电、来访的形式,向我协会反映公示对象存在的问题。以单位名义反映问题的应加盖公章,以个人名义反映问题的提倡署报本人真实姓名;
2.反映问题要坚持实事求是的原则,反对借机诽谤诬告;
3.公示时间:2025年10月23日至10月29日;
4.公示联系受理电话:温州市建筑材料行业协会,地址:温州市矮凳桥路25号,邮编:325000,联系电话:0577-88835804。
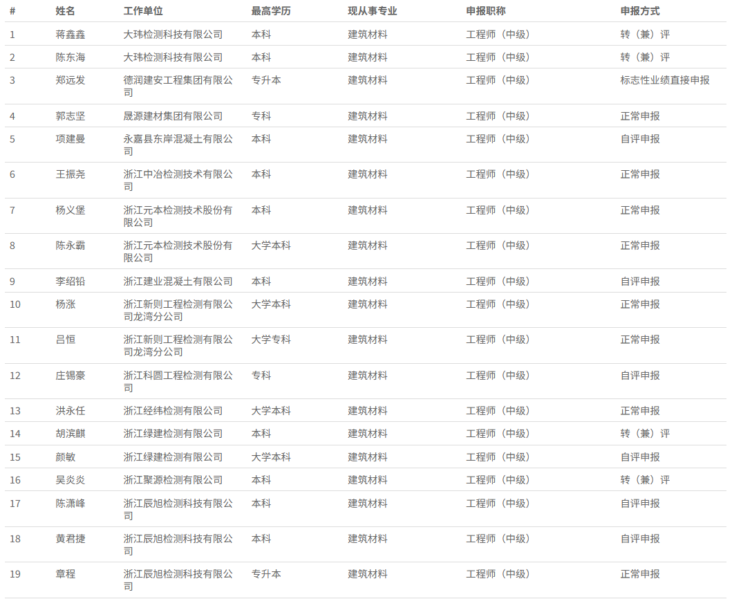
评后公示名单



扫描下方二维码咨询我们或关注公众号「浙江微思职称」,了解更多职称资讯~
